香港直郵,香港e特快,奢侈品直郵,化妝品直郵
中秋國慶雙節快樂,祝愿我們的祖國繁榮昌盛,國泰民安,祝大家闔家幸福,健康快樂!
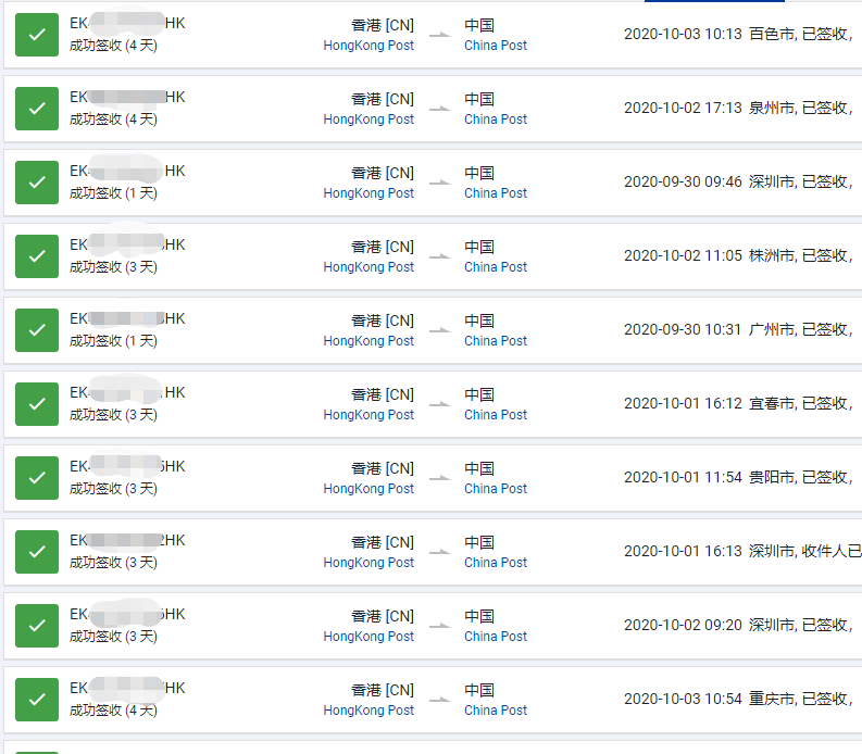
大家關心的大陸國慶黃金周,還能不能正常郵寄?
香港只放兩天假,那香港直郵還能正常嗎?
當然大陸節日期間,很多直郵線路還是有一定影響的,有些cc線路類可能要8號以后才能正常,但是我們的香港e特快是完全不受影響的,節日期間完全正常清關,派送。


上圖大家可以看到,節日第一天大家還都在路上堵車的時候,我們的貨物都已經正常清關了,很多貨也在節日期間正常派送了。
節日期間,香港e特快直郵大陸的貨物完全正常清關和派送,時效基本沒有太大變化。香港直郵內地完全是正常的。
紅旗速運香港倉,3號正常上班,4號周日正常休,5-8號正常上班收發貨。節日期間各種促銷直郵完全可以保障!
節日期間香港e特快直郵服務不打折,紅旗速運持續為您提供專業便捷的直郵服務。更多關于香港直郵方便咨詢可以關注紅旗速運官網和公眾號。

紅旗速運一站式服務流程 寄件人可將物品送達香港倉庫,或通過
香港代收服務可不挑剔,啥都能收!從個人海淘的衣服、鞋子、包包
為什么是香港? 這座城市的航班密集得像意大利的咖啡店,免稅政
香港最大的優勢就是免稅和豐富的航班資源。國外商家或品牌官網基
說到郵政渠道,紅旗速運那一頁簡直是"物流百科全書&